RRGX/Z81X-16Q溝槽明杆彈性閘閥概述:
明杆溝槽彈性座封閘閥又名溝槽式軟密封閘閥,廣泛應用於輸送流體管道的給排水,消防、空調、燃氣、石油、化工、水處理、市政、造船等管道工程作爲控制流體作用。
RRGX/Z81X-16Q溝槽明杆彈性閘閥特點:
它具有安裝快速、簡易、安全、可靠、不受安裝場地限制、便於管道與閥門的維修保養,有隔振隔音與一定的角度範圍内有克服管道連接不同軸而産生仿差,解決溫差所産生熱脹冷縮等優點。
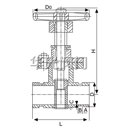
RRGX/Z81X-16Q溝槽明杆彈性閘閥結構圖:
RRGX/Z81X-16Q溝槽明杆彈性閘閥主要技術參數
| 公稱壓力 |
1.O |
1.6 |
2.5 |
| 試驗壓力 |
殼體強度 |
1.5 |
2.4 |
3.75 |
| 密封性能 |
1.1 |
1.76 |
2.75 |
| 适用介質 |
産品類型 |
球墨鑄鐵 |
| 适用介質 |
水、水蒸汽、油品、空氣 |
| 工作溫度 |
密封面材質 |
橡膠 |
乙腈橡膠 |
乙丙橡膠 |
氟橡膠 |
聚四氟塑料 |
銅 |
不鏽鋼 |
| 工作溫度 |
≤60 |
≤80 |
≤250 |
≤250 |
≤200 |
≤200 |
≤200 |
| |
|
|
|
|
|
|
|
|
|
|
RRGX/Z81X-16Q溝槽明杆彈性閘閥主要零件材料:
| 産品類型 |
材質 |
| 閥體 |
閥闆 |
閥軸 |
密封面 |
| 球墨鑄鐵 |
QT450 |
球鐵、碳鋼、噴塗或不鏽鋼 |
鉻不鏽鋼 |
不鏽鋼 |
橡膠NBR、丁晴橡膠NBR、乙丙EPDM、氟橡膠PTFE |
RRGX/Z81X-16Q溝槽明杆彈性閘閥主要外形及連接尺寸:
| 公稱通徑 |
50 |
65 |
80 |
100 |
125 |
150 |
200 |
250 |
300 |
350 |
400 |
450 |
500 |
600 |
- |
| D |
57 |
60 |
76 |
89 |
108 |
114 |
133 140 |
159 165 |
219 |
273 |
325 |
377 |
426 |
480 |
530 |
630 |
SJKD3型 |
| A1 |
14.5 |
14.5 |
14.5 |
16 |
16 |
16 |
19 |
19 |
19 |
25 |
25 |
25 |
25 |
25 |
- |
| B1 |
9.5 |
9.5 |
9.5 |
9.5 |
9.5 |
9.5 |
13 |
13 |
13 |
13 |
13 |
13 |
13 |
13 |
- |
| C |
2.2 |
2.2 |
2.2 |
2.2 |
2.2 |
2.2 |
2.5 |
2.5 |
3.3 |
3.3 |
5.5 |
5.5 |
5.5 |
5.5 |
- |
Z81X |
L |
145 |
160 |
170 |
180 |
200 |
240 |
275 |
325 |
355 |
- |
- |
- |
- |
- |
- |
| H |
325 |
380 |
425 |
455 |
- |
500 |
620 |
750 |
880 |
- |
- |
- |
- |
- |
- |
| Do |
180 |
180 |
200 |
200 |
- |
240 |
320 |
320 |
400 |
- |
- |
- |
- |
- |
- |
| |
|
|
|
|
|
|
|
|
|
|
|
|
|
|
|
|
|
|
訂貨須知:
一、①溝槽明杆彈性閘閥産品名稱與型号②溝槽明杆彈性閘閥口徑③是否帶附件以便我們的爲您正確選型。
二、若已經由設計單位選定溝槽明杆彈性閘閥型号,請按溝槽明杆彈性閘閥型号直接向我們華光閥門銷售部訂購。
三、當使用的場合非常重要或環境比較複雜時,請您盡量提供設計圖紙和詳細參數,由我們華光閥門專家爲您審核把關。